插入式电磁流量计由插入式电磁流量计传感器和插入式电磁流量计转换器配套组成(简称流量计),用来测量管道内各种导电液体的体积流量。
插入式电磁流量计的工作原理是基于法拉第电磁感应定律。在电磁流量计中,测量管内的导电介质相当于法拉第试验中的导电金属杆,上下两端的两个电磁线圈产生恒定磁场。当有导电介质流过时,则会产生感应电压。管道内部的两个电极测量产生的感应电压。测量管道通过不导电的内衬(橡胶,特氟隆等)实现与流体和测量电极的电磁隔离。
汇彩网 插入型电磁流量计是一种测量导电流体体积流量的感应式仪表。插入式电磁流量计是在管道式电磁流量计的基础上发展起来的一种新型流体流量仪表。它在保留管道式电磁流量计优点的基础上,针对管道式电磁流量计在大管道上安装困难,费用大等缺陷,用电磁方法通过测量流体的平均流速,从而获得流体的体积流量。特别是采用带压开孔、带压安装技术后,插入式电磁流量计可在不停车(水)的情况下安装,也可在铸铁管道,水泥管道上安装。
插入式电磁流量计主要用于测量封闭管道中的导电液体和浆液中的体积流量。包括酸、碱、盐等强腐蚀性的液体。插入式电磁流量计广泛应用于石油、化工、冶金、纺织、食品、制药、造纸等行业以及环保、市政管理,水利建设等领域。
插入式电磁流量计特点:
汇彩网1、耐腐蚀全不锈钢材质、ABS全模具生产探头
2、结构简单、牢固、无活动部件、使用寿命长 测量可靠、抗干扰能力强
汇彩网3、体积小、重量轻、安装方便、维护量小
汇彩网4、测量范围大,测量不受温度、密度、压力、粘度、导电率等变化的影响,压力损失为零
5、能够在不断流的情况下进行安装、拆卸,为用户的检修带来了方便 较一般电磁流量计的制造成本和安装费用低,特别适合大中口径管道流量测量
汇彩网6、采用先进的加工工艺,固态封装、耐震动等特点,使仪表具有良好的测量精度和稳定性
汇彩网7、流量计不仅有4-20mA电流信号输出,同时还有1-2000HZ频率输出 数字通讯输出:RS485、RS232、HART、Modbus。

插入式电磁流量计技术参数:
| 性能 | 技术参数 |
| 管道通径 | 100mm-3000mm |
| 流速范围 | 0.1m/s~10m/s |
| 精度 | 0.5~10m/s:±1.5%FS;0.1~0.5m/s:±2.0%FS 0.1~10m/s:±2.5%FS(FS指40%~-100%满量程流量) |
| 电导率 | > 20µs/cm |
| 介质温度 | -20℃~/+130℃ |
| 环境温度 | -20℃~/+60℃ |
| 耐压 | 1.6MPa |
| 防护等级 | IP65(一体) IP68(分体) |
| 电极材质 | 316L不锈钢 |
| 输出信号 | 4-20mA;RS485;HART协议;MODBUS协议 |
| 传感器材质 | 不锈钢 |
| 工作电源 | 220VAC,允差15%或24VDC,纹波≤5% |
| 功率 | 6.5W |
| 耐压等级 | ≤1.6MPa |
插入式电磁流量计选型:

汇彩网 1,在选择插入式电磁流量计时,需要考虑流体的性质,包括流体的粘度、密度、温度、压力等。
2,在选择电磁流量计时,需要考虑流量范围,即电磁流量计的大流量和小流量。一般来说,电磁流量计的流量范围越大,价格越高,因此,在选择电磁流量计时,应根据实际需要选择合适的流量范围。
3,在选择电磁流量计时,还需要考虑精度要求。一般来说,电磁流量计的精度越高,价格越高,因此,在选择电磁流量计时,应根据实际需要选择合适的精度。
总之,电磁流量计的选型是一项复杂的工作,需要考虑到流体的性质、流量范围、精度要求等多方面因素。在选择电磁流量计时,应根据实际需要,综合考虑上述因素,选择合适的电磁流量计。
插入式电磁流量计安装
插入式电磁流量计传感器安装上游直管段不低于5D(D表示管径),下游直管段不低于2D:
1、垂直安装,传感器插入管道时应与管道断面的垂直直径夹角小于5°,适用于测量管道振动小的清洁介质。

汇彩网2、倾斜安装,其传感器的轴线与被测管道的轴线夹角为45°,适用于大管径且测量介质中含有其它杂质的液体流量测量,该安装方式水阻小,不宜缠挂。

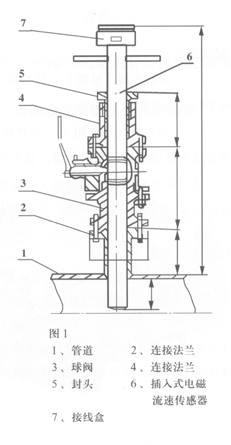
汇彩网插入式电磁流量计传感器插入点有两种方法:一是插入到被测管道的中心轴线上(即1/2倍的管径);二是插入到管道内壁为管道的1/4处。
传感器的安装:
1、清理被测管安装底座的焊渣和毛刺。
汇彩网2、关掉上游流量控制阀门或采用低压供水。
3、将DN50球阀安装到安装底座上,注意球阀的长空腔向上,检查球阀是否能全开、全关,将压紧螺纹座、压紧螺母和橡胶密封圈安装到球阀上,松开定位螺母,将传感器插入杆通过球阀插入被测管道,同时应注意传感器方向标志杆指向应和流体流向一致。 订货须知订货时请写明被测介质名称、工作压力、介质温度、流量(流速)范围管道通径和被测管网情况等。